从7月中旬开通付费服务以来,收入情况还不错,至少是比普通白领情况多不少。7月份收入没有详细统计,8月份预期收益大概在一万多元以上。当然这个收益其实很一般,也没有比我以前专业操作网赚项目多多少,更是比不上我IT同事的工资收入。一些朋友做国外网赚项目很轻松的达到了这个收入。在这里展示收款情况没有别的意思,是给搜一客自己和其他做自媒体的朋友一点点激励,同时也再次告诫自媒体人:除了原创需要考虑怎么赚钱。(很多大牛自媒体赚到钱是我的几十倍,但考虑到我做自媒体也就三个多月,这情况还算过得去)
我的收入来源
1,操作网赚项目收入
2,付费vip会员群
3,网赚课程(兴趣部落引流,博客跳转,视频社区引流等等)
4,建站seo服务项目
5,引流代操作项目
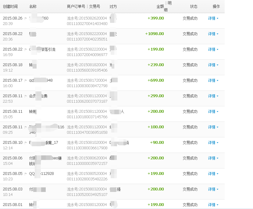
支付宝的收入收款大概5千多元。
银行卡收款4千多元,还有部分网赚项目未提现收入大约在一千多元
当然,其实还有部等待代收款项目。有两个建站seo单子现在只是预付了小部分款项,都拿下来可能会产生3万元收入,不过可能要分配到好几个月里面。
这里展示部分收款截图(只截取了90元以上的记录)

之所以这个收益还不能放大,主要原因是精力不够。比如说网赚项目,这个操作得当,每月收入是相当不错的。但是我现在分配到这上面的时间并不多。
另外从内心来说,相比于出售课程,我更愿意自己去操作。卖了课程以后,很多人按照教程操作没问题,但是要操作很大成绩来,需要花费一些心思。所以那些没做太多努力的人难免会对课程有所不满,另外一个情况是,每个参与学习的人自身水平相差很大,我的课程对于大部分朋友来说是非常有作用的,但是如果刚好学习这个课程的人本身对于这一块比较熟悉,那么参与这个课程的价值就没有很大了。
如果搜一客自己有很多时间去操作的话,这些都不是问题了。所以,我还是呼唤那个最合适的合伙人早日到来。(最近收到不少简历,很多朋友想要过来,但是不一定满足我的要求。所以对那些没能加入的朋友说抱歉。今天,已经有一个合伙人今日过来,期待)
淘客们博客